DAU e DAP 40
difusores quadrados em alumínio, de 4 direções versão DAP: para painel de teto falso
Este es un texto dentro de un bloque div.
Ventajas
Núcleo central amovível para aceder ao interior do pleno: facilidade de montagem e limpeza.
Gama especial para painel de teto falso.
DESCRIPCIÓN TÉCNICA
GAMA
DAU 40:
- 7 dimensões disponíveis com caudais indicativos de 120 até 3000 m³/h (tabela de seleção), acabamento em alumínio pintado a branco RAL 9003 mate.
DAP 40:
- 5 dimensões disponíveis com caudais indicativos de 120 até 2000 m³/h (tabela de seleção), acabamento em alumínio pintado a branco RAL 9003 mate, para painel de teto falso em placa de 600 x 600 mm.
Dimensões limite de fabrico:
- 150 x 150 mm / 600 x 600 mm.
DESIGNACIÓN

APLICACIÓN/USO
- Difusor com 4 direções fixas de insuflação.
- Climatização de edifícios do setor terciário como por exemplo escritórios, espaços comerciais, entre outros.
- Utilização em retorno possível.
CONSTRUCCIÓN/COMPOSICIÓN
DAU 40:
- Aro e núcleo central amovível em alumínio extrudido.
- Acabamento disponível: alumínio pintado a branco, RAL 9003 mate.
DAP 40:
- Aro em aço galvanizado.
- Núcleo central amovível em alumínio extrudido.
- Acabamento disponível: alumínio pintado a branco, RAL 9003 mate.
OPCIONES

- Outras cores RAL.
EMBALAJE
- Vendido à unidade.
DIMENSIONES
ATRAVANCAMENTOS
DAU 40
- Ligação: L x H.
- Abertura no teto: (L + 75) x (H + 75).

DAP 40


Difusores com função insuflação/retorno porta-filtro através da instalação do pleno PFU 41 S/R PF.
SELECCIÓN
TABELA DE SELEÇÃO PARA DAU E DAP 40

INSTALACIÓN
INSTALAÇÃO DOS DAU E DAP 40
Ligação a conduta flexível (com pleno):
- Encaixar o difusor no pleno PFU 40 ou PFU 41.
- Fixar o difusor com parafusos.

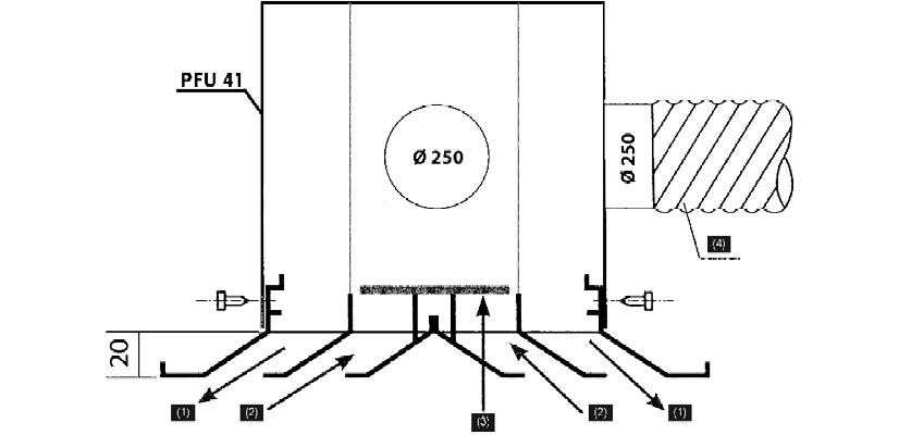
PFU 41 S/R PF

Ligação a conduta metálica quadrada
- Encaixar o difusor no interior da conduta.
- Fixar o difusor com parafusos.

Equilíbrio:
- Possibilidade de instalar um registo em todas as configurações.
- Encaixar o registo RFS 08 no difusor.

ACCESORIOS
Pyramid'Air®

Lleno de poliestireno.
Leveza.
PFU Air Proof

Pleno com estanquidade classe C.
RFS 07

Registro de flujo en acero galvanizado con solapas opuestas.
PFU 40

Completo con conexión axial en chapa de acero galvanizado.
PFU 41

Completo con conexión lateral en chapa de acero galvanizado.
Easyflux®

Registro para la regulación del equilibrio y el flujo.
PFU 41 S-R PF
Con la instalación del PFU 41 S/R PF completo, se obtiene un difusor de inflado/retorno del portafiltros.
El plenario no está aislado.












